×
0095 10:01 ×

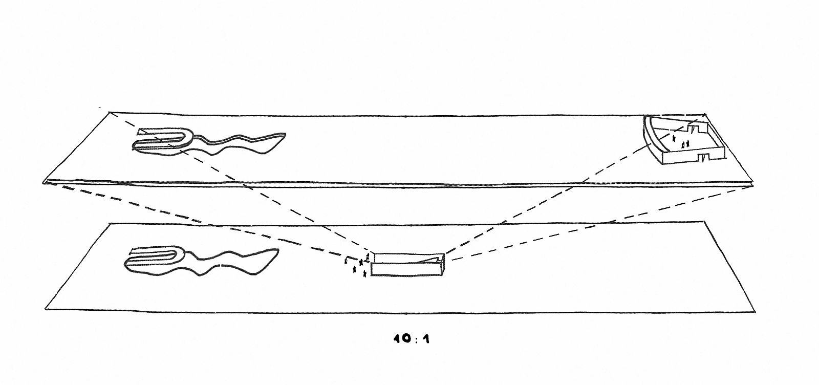
In 2004, b&k+, Arno Brandlhuber, Asterios Agkathidis and Markus Emde developed an exhibition concept for the artist Thomas Demand at the Biennale in São Paulo. In the exhibition building designed by Oscar Niemeyer, the architects placed a walk-in model of Oscar Niemeyer's building, a 1:10 scale model of the floor above with the cinema located there.

Starting from the most unpopular space, the escalator, the team aimed to make its unattractiveness functional by scaling the whole building down with the escalator as the fix point, wrapping it with wooden walls. Due to the shrinkage, new spatial qualities such as the small and intimate cinema with one bench only or the additional walls for display have been created.

The idea of the smaller copy of an original architecture still is a main component of Demands' works to this day. His work Yellowcake, portraying the nigerian embassy, was finished 3 years after in 2007.

Category
Realized
Place
São Paulo
Year
2004
Client
Bundesrepublik Deutschland
Venue
São Paulo Art Biennial
Collaboration
b&k+ Arno Brandlhuber & Asterios Agkathidis, Markus Emde, Martin Kraushaar + Thomas Demand; Marion Clauss

© Thomas Demand

© Markus Emde